首页
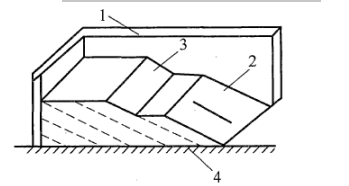
下图所示的大体积混凝土浇筑方式为()。
2023-11-02 22:13:07
计量与计价(土建)
下图所示的大体积混凝土浇筑方式为()。
A.全面分层方案
B.分段分层方案
C.斜面分层方案
D.断面分层方案
正确答案是C
上一篇:
<p>入模后的混凝土拌合物应用振动器振动捣实,下图所示的振捣器中,属于外部振捣器的为()。 <img alt="" src="
下一篇:
主要用于浇筑平板式楼板或带边梁楼板的工具式模板为()。